设为首页
收藏桐网
开启辅助访问
用户名
Email
自动登录
找回密码
密码
登录
我要注册
只需一步,快速开始
快捷导航
桐城网
桐城网
论坛
桐城网 - 桐城市民论坛
淘帖
精彩好帖汇编
直播桐城
积分商城
桐网积分兑换商品
桐城招聘
桐城招聘网
房屋租售
桐城房产交易-桐城买房-桐城卖房-房屋出租-二手房交易
实名认证
新闻
观察
桐城新闻
民生在线
生活
休闲
求职招聘
吃喝玩乐
爱车一族
婚庆
健康养生
房屋租售
商企展播
花鸟鱼宠
家装
亲子家园
桐油
交流
缘分天空
健身运动
摄影
同乡会
原创文学
民间文艺
活动
车友会
印象
桐城
桐城派
黄梅戏
名人桐城
桐城特产
乡镇
桐城歌
教 育
旅游景点
民俗风情
故事
《桐城网关于保护公民个人隐私的公开承诺》,积极倡导全社会支持保护个人隐私的行动,共同维护网络健康环境。
搜索
搜索
热搜:
桐城派
戴名世
桐城历史人物
潮涌龙眠
桐城网20年
本版
用户
桐城网
»
论坛
›
关注桐城
›
桐城在线
›
桐城市14人被终生禁驾&10人严重交通违法!文明驾驶, ...
返回列表
查看:
6910
|
回复:
0
[第一时间]
桐城市14人被终生禁驾&10人严重交通违法!文明驾驶,从我做起!
[复制链接]
远方的她
远方的她
当前离线
UID
123520
积分
5065
威望
15
桐币
261
激情
15100
金币
0
在线时间
1658 小时
注册时间
2015-2-4
IP卡
狗仔卡
2407
主题
1000
回帖
5065
积分
实名认证会员
积分
5065
收听TA
发消息
鲜花(
15
)
鸡蛋(
0
)
发表于 2017-6-6 17:39:24
|
显示全部楼层
|
阅读模式
本帖最后由 远方的她 于 2017-6-6 17:44 编辑
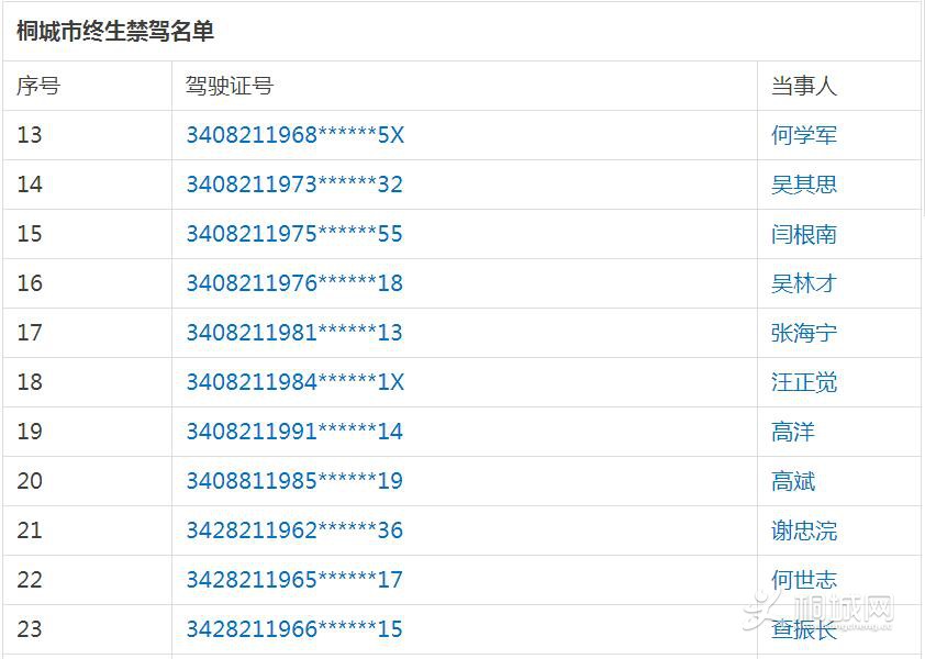
桐城人注意啦!
6月5日下午安庆市公安交警部门
通报了安庆市“终生禁驾”117人名单
97人为醉酒驾驶发生重大交通事故
20人为交通肇事逃逸
桐城市14人被列入终生禁驾名单!
以下为详细名单
↓↓↓
首次公开公示严重交通违法行为190起
吸毒驾驶机动车的77人
伪造、变造机动车牌证的74人
公路客运车辆载客超过额定乘员20%以上的24人
长途客运车辆违反凌晨2时至5时禁行规定的13名驾驶人
向社会公开曝光“终生禁驾”名单,
既是震慑心存侥幸的交通违法者,
同时也警示驾驶人自觉遵守交通法律法规,
自觉抵制酒驾、肇事逃逸等交通违法犯罪行为。
来源:安庆公安交警在线
【分享精彩·网聚未来】 我骄傲,我是桐城人! 桐城网宗旨:弘扬主旋律,讴歌真善美,传播正能量,彰显精气神。
回复
鲜花(
15
)
鸡蛋(
0
)
使用道具
举报
提升卡
置顶卡
沉默卡
喧嚣卡
变色卡
千斤顶
显身卡
返回列表
高级模式
B
Color
Image
Link
Quote
Code
Smilies
您需要登录后才可以回帖
登录
|
我要注册
本版积分规则
发表回复
回帖并转播
回帖后跳转到最后一页
浏览过的版块
影音天地
Copyright © 1999-2023
桐城网 · 论坛
(http://bbs.itongcheng.cc) 版权所有 All Rights Reserved.
Powered by
Discuz!
X3.4
Licensed
皖ICP备14018241号-2
皖公网安备 34088102000114号
法律顾问:
尹斌、耿仁飞律师
网站咨询(信息举报):0556-6080123 微信公众号:wwwtongcheng
快速回复
返回顶部
返回列表