桐城网

 找回密码
 我要注册

QQ登录

只需一步,快速开始

查看: 16292|回复: 25

[百姓杂谈] 又被2活恐吓了,我该咋办?

[复制链接]

1006

主题

5075

回帖

1万

积分

版主

Rank: 7Rank: 7Rank: 7

积分
18340
鲜花(28) 鸡蛋(7)
发表于 2013-7-26 21:29:39 | 显示全部楼层 |阅读模式
本周真是出门见鬼,走路踩狗屎。连续被两个2货恐吓。
我好怕怕呀,我该咋办呢?是不是该收拾细软,去朝鲜躲几天,避避风头。

先看恐吓我的二货之一的精品。
恐吓截图如下:
1.jpg
此君与其小号一向不分场合的乱发广告。多次劝阻,并且屡教不改。今天又无故攻击@芒果 。脏话截图如下:
3.jpg
综合其在我版多次发广告,给予小号禁言14天。
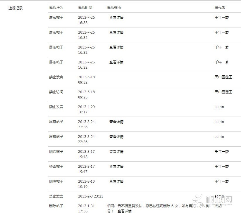
下图为小号的违规记录
4.jpg
大号的违规记录那就更多了。诸君请看:
6.jpg


恐吓我的2货之二,则是大名鼎鼎的加菲电脑,老点的桐油都知道此人干了什么,无需多言。

2.jpg




【分享精彩·网聚未来】 我骄傲,我是桐城人! 桐城网宗旨:弘扬主旋律,讴歌真善美,传播正能量,彰显精气神。

306

主题

7939

回帖

8253

积分

巡查专员

Rank: 8Rank: 8

积分
8253
鲜花(17) 鸡蛋(2)
发表于 2013-7-26 21:38:55 | 显示全部楼层
直接干掉?{:soso_e113:}
【分享精彩·网聚未来】 我骄傲,我是桐城人! 桐城网宗旨:弘扬主旋律,讴歌真善美,传播正能量,彰显精气神。

79

主题

3688

回帖

6144

积分

荣誉会员

Rank: 8Rank: 8

积分
6144
QQ
鲜花(109) 鸡蛋(4)
发表于 2013-7-26 21:47:57 | 显示全部楼层
{:soso_e120:}摸摸,千年不哭,对着奇葩撸
【分享精彩·网聚未来】 我骄傲,我是桐城人! 桐城网宗旨:弘扬主旋律,讴歌真善美,传播正能量,彰显精气神。

568

主题

1万

回帖

2万

积分

桐网进士

Rank: 7Rank: 7Rank: 7

积分
21284
鲜花(58) 鸡蛋(9)
发表于 2013-7-26 21:50:08 | 显示全部楼层
本帖最后由 芒果 于 2013-7-26 21:58 编辑

;P么么哒,本座前来慰问,放开那一梦,有种冲着我LS去。。;P
【分享精彩·网聚未来】 我骄傲,我是桐城人! 桐城网宗旨:弘扬主旋律,讴歌真善美,传播正能量,彰显精气神。

45

主题

634

回帖

1570

积分

桐网贡生

Rank: 3Rank: 3

积分
1570
鲜花(8) 鸡蛋(2)
发表于 2013-7-26 21:51:25 | 显示全部楼层
放开小亮,有种冲着楼上去。

点评

你的ID  发表于 2013-7-26 21:53
【分享精彩·网聚未来】 我骄傲,我是桐城人! 桐城网宗旨:弘扬主旋律,讴歌真善美,传播正能量,彰显精气神。

79

主题

3688

回帖

6144

积分

荣誉会员

Rank: 8Rank: 8

积分
6144
QQ
鲜花(109) 鸡蛋(4)
发表于 2013-7-26 21:52:43 | 显示全部楼层
芒果 发表于 2013-7-26 21:50
么么哒,本座前来慰问,放开那小亮,有种冲着我LS去。。

去年买个大手表,这些人都是牛逼哄哄的主,绕行,跟当初在大百思的心态一样
【分享精彩·网聚未来】 我骄傲,我是桐城人! 桐城网宗旨:弘扬主旋律,讴歌真善美,传播正能量,彰显精气神。

45

主题

634

回帖

1570

积分

桐网贡生

Rank: 3Rank: 3

积分
1570
鲜花(8) 鸡蛋(2)
发表于 2013-7-26 22:20:21 | 显示全部楼层
江山如画苍穹笑 发表于 2013-7-26 21:52
去年买个大手表,这些人都是牛逼哄哄的主,绕行,跟当初在大百思的心态一样

亲,我的ID怎么了。
【分享精彩·网聚未来】 我骄傲,我是桐城人! 桐城网宗旨:弘扬主旋律,讴歌真善美,传播正能量,彰显精气神。

79

主题

3688

回帖

6144

积分

荣誉会员

Rank: 8Rank: 8

积分
6144
QQ
鲜花(109) 鸡蛋(4)
发表于 2013-7-26 22:27:13 | 显示全部楼层
真相 发表于 2013-7-26 22:20
亲,我的ID怎么了。

放开小亮,有种冲着楼上去。

我准备打:真相了。。突然抬头,就看了你的ID
【分享精彩·网聚未来】 我骄傲,我是桐城人! 桐城网宗旨:弘扬主旋律,讴歌真善美,传播正能量,彰显精气神。

302

主题

1万

回帖

2万

积分

版主

Rank: 7Rank: 7Rank: 7

积分
22429
鲜花(13) 鸡蛋(0)
发表于 2013-7-26 22:28:00 | 显示全部楼层
好可怜滴梦哦,受人威胁了,赶紧求保护罩
【分享精彩·网聚未来】 我骄傲,我是桐城人! 桐城网宗旨:弘扬主旋律,讴歌真善美,传播正能量,彰显精气神。

302

主题

1万

回帖

2万

积分

版主

Rank: 7Rank: 7Rank: 7

积分
22429
鲜花(13) 鸡蛋(0)
发表于 2013-7-26 22:29:55 | 显示全部楼层
好可怜滴梦哦,受人威胁了,赶紧求保护罩
【分享精彩·网聚未来】 我骄傲,我是桐城人! 桐城网宗旨:弘扬主旋律,讴歌真善美,传播正能量,彰显精气神。
您需要登录后才可以回帖 登录 | 我要注册

本版积分规则

快速回复 返回顶部 返回列表